Codeur optique 2 bits, 24 pas par tour

 


 

     Ce codeur a été réalisé pour commander un VFO géré par un PIC et basé sur un DDS9851. A chaque impulsion reçue sur une des deux entrées du PIC, le DDS incrémente sa fréquence d'un Hertz. De plus, la variation de fréquence est fonction de la vitesse de rotation du codeur.
     L'utilisation des codeurs que l'on trouve facilement dans le commerce s'est avérée impossible. D'une part, en général ils sont crantés ce qui est désagréable quand on tourne le bouton et d'autre part, le nombre d'impulsions fournies par tour est trop important dans la configuration programmée dans le PIC. Au mieux, il faudrait avoir un codeur qui donne une seule transition sur une des voies, par cran et non 4 pour les codeurs courants. Mais restent ces crans désagréables...

    A part le plaisir de réaliser ce petit ensemble mécanique, nous répondons à quelques impératifs :

- Pas de rebonds comme dans un système à contacts mécaniques (sauf qu'ils peuvent être supprimés par soft).
- Avoir une faible résolution et une rotation libre sans crantage.

     GENERALITES SUR CE TYPE DE CODEUR :

     Il existe de nombreuses variétés de codeurs, incrémental, absolu, avec ou sans crans, mécaniques ou optique, résolutions diverses, etc.

     Nous allons nous intéresser ici au modèle à deux voies décalées, donc 2 bits en code Gray. Le sens de rotation est déterminé par l'avance d'une voie sur l'autre. Ce petit graphique va nous en révéler tous les secrets :

MÉCANIQUE

     La majeure partie de cette réalisation est mécanique et l'accès à un tour est indispensable pour faire un travail propre.

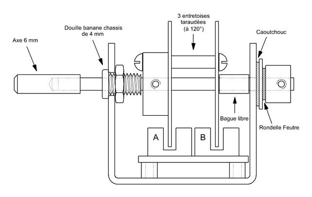
     Le châssis est une tôle aluminium de 2 mm pliée en U. Côté bouton de manœuvre, pour rester dans la simplicité, le palier est constitué par une douille banane châssis de 4 mm et l'axe est une tige de laiton de 4 mm.
     Le deuxième palier est un peu spécial. Pour obtenir un léger freinage en rotation, l'axe passe dans un trou de diamètre légèrement inférieur percé dans une petite plaque de caoutchouc. Il faudra donc agrandir ce trou jusqu'à obtenir l'effet voulu.
     La butée arrière pourrait être remplacée par un disque avec 6, 12 ou 24 crans et une petite lame souple si on désirait quand même avoir un léger crantage.
     On pourrait également envisager de mettre un micro-interrupteur en bout d'arbre et autoriser une légère translation.

     Les roues codeuses sont identiques et comportent chacune 6 secteurs. Pourquoi 6 ? D'abord pour la facilité de traçage des sommets d'un hexagone avec un compas (est-ce toujours enseigné à l'école ?) et ensuite parce que le décodage par le PIC se fait sur chaque flanc du signal. Un Hertz par changement de niveau donne 24 Hz par tour, puisqu'il y a deux roues.
     Elles ont été taillées dans de la bakélite cuivrée, ce qui a permis de humer la bonne vieille odeur phénolique dégagée quand on travaillait ce matériau à une époque où l'époxy était un luxe. Le cuivre a ensuite été éliminé à l'acide nitrique.

 

     SCHÉMA

     L'électronique est réduite à sa plus simple expression, deux photo-interrupteurs et 3 résistances CMS 1206. Ces composants prendront place sur un petit circuit placé sous les roues codeuses. Les photo-interrupteurs sont des modèles à fourche récupérés sur des cartes industrielles mais que l'on trouve facilement dans le commerce. Leur avantage est la précision de détection grâce à une fente de 0,5 mm.

CIRCUIT IMPRIMÉ

 

 

 ÉPILOGUE

     Nous n'avons pas résisté au plaisir de dépecer un codeur à 60 centimes d'euro. Le résultat de la dissection en photo :

           RETOUR ACCUEIL